伦敦作为欧洲重要的互联网枢纽城市,拥有成熟的网络基础设施和丰富的国际带宽资源。对于需要面向欧洲用户提供服务的场景来说,伦敦机房往往能提供较低的区域内延迟和稳定的网络连接。
JustHost 在伦敦部署的数据中心,依托英国优质的网络环境,为用户提供了一个性价比不错的欧洲节点选择。本文将通过详细的测试数据,展示这个机房的实际表现,包括国内访问延迟、带宽速度、路由情况以及稳定性等关键指标,帮助有需求的用户。
测试套餐配置
本次测试使用的是 JustHost 基础款 VPS 套餐 Sirius,具体配置如下:
| 套餐名称 | CPU | 内存 | 磁盘 | 带宽 | 价格 |
|---|---|---|---|---|---|
| Sirius | 1核 | 1024 MB | 20 GB NVMe | 300 Mbit (fair-share) | $5.86/月 |
操作系统选择的是 Ubuntu Server 22.04 64bit,这是目前比较常用的 Linux 发行版本。如果打算购买 JustHost 的 VPS 服务,建议前往 JustHost 官网 查看最新的套餐信息。另外,使用优惠码可以获得一定的折扣,点击查看我们整理的 JustHost 优惠码。
基础系统信息
在开始性能测试之前,先了解一下这台伦敦机房 VPS 的基础配置情况。
系统版本
服务器预装的是 Ubuntu 22.04.5 LTS 版本,这是一个长期支持版本,适合用于生产环境。内核版本为 5.15.0-164-generic,属于比较新的稳定内核,对硬件兼容性和性能都有不错的支持。
Ubuntu 22.04.5 LTS
Linux r1089906 5.15.0-164-generic #174-Ubuntu SMP Fri Nov 14 20:25:16 UTC 2025 x86_64
CPU 配置
处理器采用的是 Intel Xeon E5-2695 v4,主频 2.10GHz。这是一款服务器级别的处理器,虽然主频不算特别高,但稳定性表现良好。套餐分配了 1 个核心,单线程配置,对于轻量级应用和个人项目来说基本够用。
Intel(R) Xeon(R) CPU E5-2695 v4 @ 2.10GHz
1 Socket / 1 Core / 1 Thread
内存配置
实际可用内存为 957 MB,接近标称的 1024 MB,符合预期。需要注意的是,JustHost 默认没有配置 Swap 交换空间,这对于小内存 VPS 来说可能会在内存不足时出现问题。如果运行的应用比较吃内存,建议手动创建一个 Swap 分区。
total used free shared buff/cache available
Mem: 957Mi 192Mi 196Mi 0.0Ki 568Mi 619Mi
Swap: 0B 0B 0B
磁盘配置
存储空间为 20 GB NVMe 固态硬盘,文件系统使用 ext4 格式。全新系统已经占用了 4.8 GB,剩余可用空间约 15 GB。NVMe 硬盘的读写速度通常比传统机械硬盘快很多,对于需要频繁读写的应用来说是个不错的配置。
不过 20 GB 的容量确实不算大,如果要存放数据库或者大量文件,需要注意空间规划。
Filesystem Type Size Used Avail Use% Mounted on
/dev/sda1 ext4 20G 4.8G 15G 26% /
从基础配置来看,这台伦敦机房的 VPS 硬件规格中规中矩,适合跑一些轻量级的 Web 服务、代理节点或者测试环境。接下来将通过实际测试,看看这些硬件在真实场景下的表现如何。
JustHost 伦敦性能测试详解
通过一系列基准测试,可以更清楚地了解这台伦敦机房 VPS 的实际性能表现。
CPU 性能测试
使用 sysbench 进行 CPU 基准测试,计算 20000 以内的质数:
CPU speed:
events per second: 211.58
General statistics:
total time: 10.0018s
total number of events: 2117
Latency (ms):
min: 3.04
avg: 4.71
max: 55.32
95th percentile: 7.98
sum: 9974.10
从测试结果来看,单核性能属于常规水平,每秒能完成 211 个事件。Intel Xeon E5-2695 v4 是几年前的服务器处理器,性能表现中规中矩,应对日常的 Web 服务、脚本运行等任务没什么问题,但不要指望它能处理高负载的计算密集型任务。
内存性能测试
内存读写速度测试结果:
Total operations: 26701570 (2667615.79 per second)
26075.75 MiB transferred (2605.09 MiB/sec)
General statistics:
total time: 10.0010s
total number of events: 26701570
Latency (ms):
min: 0.00
avg: 0.00
max: 64.05
95th percentile: 0.00
sum: 4867.12
内存性能表现不错,读写速度达到 2.6 GB/s,对于 DDR4 服务器内存来说属于正常范围。这个速度足以满足大部分应用的内存访问需求,不会成为系统的瓶颈。
磁盘 IO 性能测试
4K 随机读写测试
这是衡量 SSD 性能的重要指标,特别是对数据库等随机读写频繁的应用:
Jobs: 1 (f=1): [m(1)][100.0%][r=8300KiB/s,w=8016KiB/s][r=2075,w=2004 IOPS][eta 00m:00s]
randrw: (groupid=0, jobs=1): err= 0: pid=2078: Tue Jan 6 06:24:41 2026
read: IOPS=2545, BW=9.94MiB/s (10.4MB/s)(597MiB/60001msec)
write: IOPS=2547, BW=9.95MiB/s (10.4MB/s)(597MiB/60001msec); 0 zone resets
4K 随机读写 IOPS 都在 2500 左右,这个成绩对于标称 NVMe 的硬盘来说其实有点尴尬。真正的 NVMe SSD 随机读写 IOPS 通常能达到几万甚至十几万,而这里的表现更接近普通 SATA SSD 的水平。
虽然官方标注的是 NVMe,但从实测数据判断,要么是共享程度比较高,要么底层存储架构有限制。不过话说回来,2500 IOPS 对于个人使用和轻量级应用来说已经足够了,日常使用不会感觉到明显的卡顿。
顺序读写测试
大文件连续读写的性能表现:
seqrw: (groupid=0, jobs=1): err= 0: pid=2093: Tue Jan 6 06:25:04 2026
read: IOPS=331, BW=332MiB/s (348MB/s)(496MiB/1495msec)
write: IOPS=353, BW=353MiB/s (370MB/s)(528MiB/1495msec); 0 zone resets
顺序读写速度在 330-350 MB/s 左右,这个成绩同样印证了前面的判断——磁盘性能更接近 SATA SSD 而非真正的 NVMe。对于需要传输大文件、备份数据等场景,这个速度基本够用,但如果跟真正的 NVMe 相比还是有明显差距的。
带宽测试
使用 Speedtest 测试本地带宽速度:
Server: Community Fibre Limited - London (id: 30690)
ISP: Baxet Group Inc.
Idle Latency: 0.95 ms (jitter: 0.10ms, low: 0.85ms, high: 1.06ms)
Download: 366.62 Mbps (data used: 631.5 MB)
12.49 ms (jitter: 5.94ms, low: 1.83ms, high: 60.73ms)
Upload: 384.39 Mbps (data used: 293.6 MB)
1.84 ms (jitter: 5.28ms, low: 0.96ms, high: 32.95ms)
Packet Loss: 0.0%
本地带宽测试表现优秀,下载和上传速度都接近 400 Mbps,超过了套餐标称的 300 Mbit。本地延迟只有 0.95 毫秒,丢包率为零,说明伦敦机房内部的网络质量很不错。不过需要注意的是,这是测试到伦敦本地服务器的速度,国际线路会有衰减。
国内网络连接测试
对于国内用户来说,VPS 访问国内网络的延迟和稳定性是非常关键的指标。下面通过多个维度测试伦敦机房到国内的网络表现。
基础延迟测试
通过 ping 百度网站测试基本的网络延迟情况:
root@r1089906:~# ping -c 4 www.baidu.com
PING www.wshifen.com (103.235.46.115) 56(84) bytes of data.
64 bytes from 103.235.46.115 (103.235.46.115): icmp_seq=1 ttl=39 time=245 ms
64 bytes from 103.235.46.115 (103.235.46.115): icmp_seq=2 ttl=39 time=247 ms
64 bytes from 103.235.46.115 (103.235.46.115): icmp_seq=3 ttl=39 time=245 ms
64 bytes from 103.235.46.115 (103.235.46.115): icmp_seq=4 ttl=39 time=249 ms
--- www.wshifen.com ping statistics ---
4 packets transmitted, 4 received, 0% packet loss, time 3004ms
rtt min/avg/max/mdev = 245.082/246.510/249.003/1.593 ms
从伦敦到国内的延迟在 245 毫秒左右,这是跨越欧亚大陆的物理距离决定的,属于正常水平。测试期间没有出现丢包,网络连接比较稳定。不过这个延迟对于需要实时交互的应用来说还是偏高的,比如游戏加速、实时通讯等场景会感觉到明显的卡顿。
全国多节点延迟分布
使用 itDog 工具测试国内各地区到伦敦机房的延迟情况:

三大运营商的延迟差异不算太大,都在 250-265 毫秒这个范围内。相对来说,移动的最低延迟(江苏南通 197ms)表现最好,但最高延迟(浙江宁波 332ms)也是最高的,波动比较明显。电信和联通的表现相对均衡一些。
丢包率测试
网络稳定性同样重要,继续使用 itDog 测试丢包情况:

这个丢包率数据就不太理想了。白天测试时的 3.92% 丢包率已经超过了正常水平(通常 1% 以内算正常),到了晚上高峰期更是能达到 15%,这会严重影响使用体验。高丢包率会导致网页加载缓慢、视频卡顿、SSH 连接不稳定等问题。
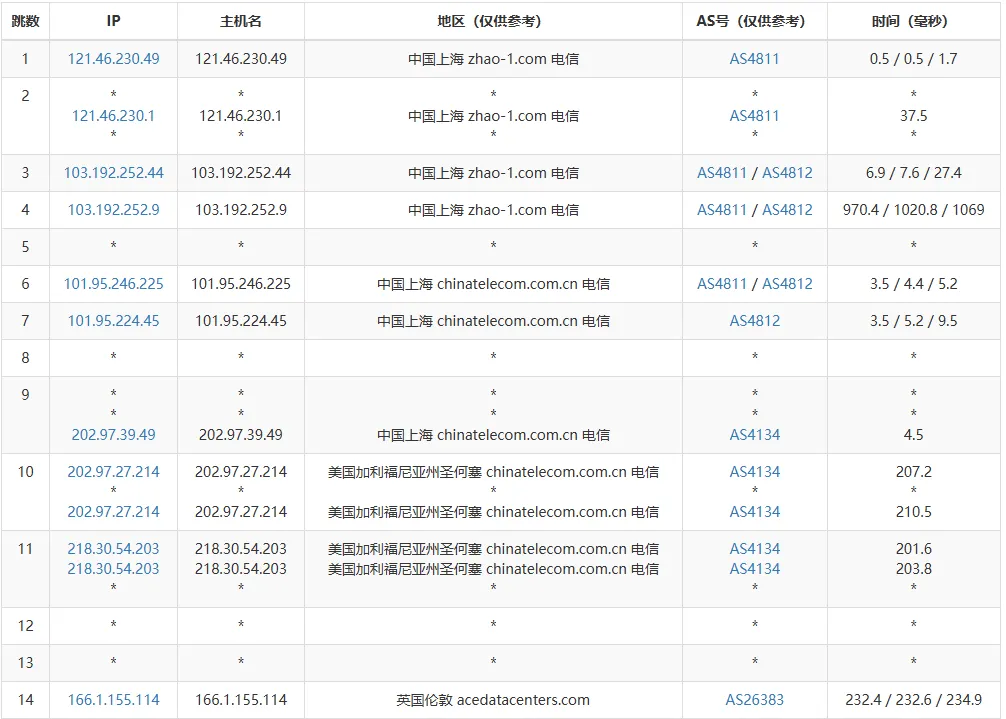
路由追踪分析
从国内访问伦敦机房的网络路径:

路由从上海出发并没有直接到伦敦,而是先绕道美国西海岸的圣何塞,然后再转到英国。这种绕路的情况会增加额外的延迟,也是导致延迟较高的原因之一。理想情况下应该是从国内直接到欧洲,但实际路由绕路导致延迟高且不稳定。
实际下载速度测试
使用 iperf3 从国内测试 VPS 的实际下载带宽(本地为 100Mbps 电信宽带,VPS 已开启 BBR 加速):

从国内访问伦敦机房的实际下载速度平均在 23 Mbps 左右,大约 2.9 MB/s。这个速度只发挥了本地 100M 宽带约 23% 的性能,表现比较一般。速度波动也很明显,最低只有 0.7 Mbps,最高能到 48 Mbps,说明网络状况不够稳定。
即使开启了 BBR 拥塞控制算法来优化传输效率,受限于国际线路的质量,实际效果也比较有限。如果主要用途是面向国内用户提供服务或者需要频繁与国内网络交互,这个速度和稳定性可能无法满足需求。
IP 质量与流媒体解锁
IP 质量检测
对 VPS 的 IP 地址进行了全面的质量检测:

IP 归属于 AS26383 (ASNET),定位在英国伦敦。各大数据库均识别为机房 IP,这是 VPS 的正常情况。风险评分方面表现一般,IP2Location 和 AbuseIPDB 显示为低风险,但 Scamalytics 评分为 74 分(高风险),IPQS 评分 75 分(可疑 IP)。
邮件端口 25 可用,能够正常发送邮件。在黑名单检测中,虽然有 47 个已标记,好在没有被列入黑名单。
流媒体解锁测试
测试了主流流媒体平台的解锁情况:

Netflix、YouTube 和 Prime Video 都能正常解锁英区内容,对于需要观看英国本地流媒体的用户来说是个好消息。AI 工具方面 ChatGPT 和 Claude 都可以正常使用,但 Google Gemini 不可用。但 Disney+ 被 IP 封禁,Spotify 也无法注册。
整体来看,主流的流媒体服务大部分都能解锁,适合用于观看英区的 Netflix 和 YouTube 内容。
总结评价
经过全方位的测试,JustHost 英国伦敦机房的表现基本符合这个价位段的预期。
硬件配置方面,Intel Xeon E5-2695 v4 处理器提供了稳定的计算能力,1GB 内存和 20GB NVMe 存储空间能够满足轻量级应用的需求。虽然磁盘标注为 NVMe,但实测性能更接近普通 SATA SSD 水平,不过日常使用完全足够。
网络方面,伦敦本地的带宽测试成绩出色,下载和上传速度都接近 400 Mbps,本地延迟低至 0.95 毫秒。对于面向欧洲用户提供服务的场景,这个机房是个不错的选择。但如果主要服务对象是国内用户,高达 250 毫秒的延迟和 15% 的丢包率,表现一般。
如果对伦敦机房感兴趣,可以访问 JustHost 官网 了解更多套餐信息。购买前别忘了 JustHost 优惠码。
JustHost 常规优惠码,仅月付可用,立享 20% 专属折扣
LET20
20%