莫斯科作为俄罗斯的首都和最大城市,是东欧地区重要的网络枢纽节点。MOW1 机房位于莫斯科市中心网络核心区域,连接着俄罗斯主要的互联网骨干网络,同时也是通往东欧、中亚地区的关键接入点。
这个地理位置使得 MOW1 机房在服务俄语市场、独联体国家以及东欧业务时具有天然优势。JustHost 在莫斯科部署的 MOW1 机房采用了 NVMe 固态硬盘和高速网络接入,月付价格仅需 $3.51,性价比表现值得关注。
本文将通过详细的测试数据,展示这个机房在网络延迟、带宽速度、硬件性能等方面的真实表现。
测试套餐配置
本次测评使用的是 JustHost 基础款 VPS 套餐 Sirius,具体配置如下:
| 套餐 | CPU | 内存 | 磁盘 | 带宽 | 价格 |
|---|---|---|---|---|---|
| Sirius | 1 核 | 1024 MB | 20 GB NVMe | 300 Mbit (fair-share) | $3.51/月 |
需要说明的是,如果单独购买俄罗斯莫斯科机房的 VPS,月付价格为 $3.51,而购买包含多个机房的套餐则是 $5.86/月。测试系统安装的是 Ubuntu Server 22.04 64bit 操作系统。
建议前往 JustHost 官网 查看最新套餐详情,购买时别忘了查看我们整理的 JustHost 优惠码。
基础系统信息
通过系统命令查看 MOW1 机房 VPS 的基础配置信息,可以了解硬件规格和系统环境的实际情况。
操作系统版本
服务器运行的是 Ubuntu 22.04.5 LTS 长期支持版本,内核版本为 5.15.0-122-generic。这个内核版本发布于 2024 年 8 月,系统更新较为及时,能够获得最新的安全补丁和性能优化。
root@r1089906:~# lsb_release -ds
Ubuntu 22.04.5 LTS
root@r1089906:~# uname -a
Linux r1089906 5.15.0-122-generic #132-Ubuntu SMP Thu Aug 29 13:45:52 UTC 2024 x86_64 x86_64 x86_64 GNU/Linux
CPU 处理器配置
MOW1 机房分配的处理器型号为 Intel Xeon E5-2697 v4,主频 2.30GHz。这是一颗 Broadwell 架构的服务器级处理器,虽然不是最新一代型号,但在基础应用场景下性能表现稳定可靠。分配了 1 个物理核心,单线程配置,符合基础套餐的标准规格。
root@r1089906:~# lscpu | egrep 'Model name|Socket|Core|Thread|MHz'
Model name: Intel(R) Xeon(R) CPU E5-2697 v4 @ 2.30GHz
Thread(s) per core: 1
Core(s) per socket: 1
Socket(s): 1
内存配置情况
实际可用内存为 957 MB,接近标称的 1024 MB(系统会占用一部分)。值得注意的是,JustHost 默认没有配置 Swap 交换分区,这对于 1GB 小内存 VPS 来说可能会在内存使用高峰时出现问题。建议手动配置 1-2GB 的 Swap 空间作为缓冲。
root@r1089906:~# free -h
total used free shared buff/cache available
Mem: 957Mi 200Mi 155Mi 1.0Mi 601Mi 601Mi
Swap: 0B 0B 0B
磁盘存储信息
系统盘采用 ext4 文件系统,总容量 20GB,全部挂载在根目录。新安装的 Ubuntu 22.04 系统已使用 4.7GB 空间,剩余可用空间约 15GB。磁盘设备为 /dev/sda1,使用的是 NVMe 固态硬盘,读写速度相比传统 HDD 机械硬盘有明显提升。
root@r1089906:~# df -hT /
Filesystem Type Size Used Avail Use% Mounted on
/dev/sda1 ext4 20G 4.7G 15G 25% /
从基础配置来看,MOW1 机房的硬件规格符合 $3.51 月付价位的标准定位,适合搭建轻量级应用或者小规模的网站服务。
MOW1 机房性能实测数据
通过 sysbench、fio 等专业测试工具对 MOW1 机房 VPS 进行全面性能测试,可以直观了解这台服务器的实际运行能力。
CPU 计算性能
使用 sysbench 进行单核 CPU 性能测试,结果显示每秒事件处理数为 152.99,平均延迟 6.49 毫秒。这个成绩在 Intel Xeon E5-2697 v4 单核心配置下属于正常水平,但整体性能确实偏弱。
CPU speed:
events per second: 152.99
Latency (ms):
min: 1.06
avg: 6.49
max: 65.42
95th percentile: 57.87
需要指出的是,当将测试复杂度从默认的 10000 提升到 20000 时,性能得分会下降到 50 多分,这说明单核心在处理复杂计算任务时能力有限。对于运行轻量级网站、博客或简单脚本来说够用,但不适合计算密集型应用。
内存读写速度
内存性能测试结果为 780.76 MiB/sec,每秒处理约 799,493 次操作。这个速度在 DDR4 内存配置下表现中规中矩,日常应用场景下不会成为性能瓶颈。
Total operations: 8046572 (799493.48 per second)
7857.98 MiB transferred (780.76 MiB/sec)
磁盘 IO 性能测试
4K 随机读写测试:
这项测试更接近真实使用场景,测试结果显示:
- 随机读取 IOPS:835,带宽 3341 KiB/s
- 随机写入 IOPS:830,带宽 3321 KiB/s
read: IOPS=835, BW=3341KiB/s (3421kB/s)(196MiB/60001msec)
write: IOPS=830, BW=3321KiB/s (3401kB/s)(195MiB/60001msec)
这个 4K 随机读写成绩说实话比较一般,IOPS 只有 800 多,勉强达到普通 SATA SSD 的入门水平。虽然 JustHost 宣称使用 NVMe 固态硬盘,但从实测数据来看,要么是共享存储池限制了性能,要么就是 IO 配额受到了严格控制。真正的 NVMe 盘 4K 随机 IOPS 通常能达到几万甚至十几万,这台机器的表现距离 NVMe 的理论性能差距明显。
顺序读写测试:
大文件顺序读写的表现要好一些:
- 顺序读取速度:192 MiB/s
- 顺序写入速度:204 MiB/s
READ: bw=192MiB/s (201MB/s), io=496MiB (520MB)
WRITE: bw=204MiB/s (214MB/s), io=528MiB (554MB)
顺序读写能达到 200 MB/s 左右,这个速度对于日常文件传输、备份操作来说基本够用,但同样远低于 NVMe 硬盘动辄 1-3 GB/s 的顺序读写能力。可以判断磁盘 IO 性能受到了明显的限制,更像是做了限速处理的共享存储。
网络带宽测试
使用 Speedtest 工具测试莫斯科本地网络速度,连接到莫斯科本地测速服务器的结果为:
- 下载速度:266.74 Mbps
- 上传速度:178.87 Mbps
- 空闲延迟:1.53 ms
- 丢包率:0.0%
Idle Latency: 1.53 ms (jitter: 0.24ms, low: 1.26ms, high: 1.73ms)
Download: 266.74 Mbps (data used: 157.5 MB)
Upload: 178.87 Mbps (data used: 191.1 MB)
Packet Loss: 0.0%
本地带宽测试达到 266 Mbps 下载,基本跑满了标称的 300 Mbps 带宽限制,说明机房内部网络质量不错。莫斯科本地延迟仅 1.53 毫秒,网络抖动很小,零丢包率表现优秀。这个带宽水平对于个人建站、小型应用部署完全足够。
MOW1 机房的 CPU 单核性能偏弱,磁盘 IO 虽然挂着 NVMe 的名号但实际表现受限严重,不过网络带宽和稳定性值得肯定。但 $3.51 的月付价格,这样的性能表现也不是不能接受,跑一些对性能要求不高的轻量级服务问题不大。
回国网络连接测试
对于国内用户来说,VPS 访问国内网络的延迟和稳定性至关重要。以下测试数据展示了 MOW1 机房连接中国大陆的实际网络表现。
基础延迟测试
通过 ping 百度服务器测试基本延迟情况,4 次测试的平均延迟为 235 毫秒左右,延迟波动较小,丢包率为零。
64 bytes from 103.235.46.115: icmp_seq=1 ttl=55 time=234 ms
64 bytes from 103.235.46.115: icmp_seq=2 ttl=55 time=234 ms
64 bytes from 103.235.46.115: icmp_seq=3 ttl=55 time=239 ms
64 bytes from 103.235.46.115: icmp_seq=4 ttl=55 time=234 ms
rtt min/avg/max/mdev = 233.727/235.098/238.753/2.115 ms
234 毫秒的延迟在俄罗斯莫斯科到中国的物理距离下算是正常水平,但这个延迟对于需要实时交互的应用来说偏高,更适合对延迟不敏感的业务场景。
全国多节点延迟测试
使用 itDog 工具测试 MOW1 机房到中国各地的网络延迟,测试覆盖电信、联通、移动三大运营商的多个节点。

从数据可以看出,联通线路表现最好,北京联通节点仅 135 毫秒,全国联通平均 220 毫秒。电信线路稍逊一筹但也能接受,平均 232 毫秒。移动线路表现最差,平均达到 284 毫秒,西藏等偏远地区甚至超过 360 毫秒。
丢包率测试
网络丢包率直接影响连接稳定性和用户体验。通过 itDog 平台对 MOW1 机房进行丢包测试,测试时间为下午 2 点左右。

测试结果显示整体丢包率达到 8.13%,这还是下午非高峰时段的测试结果,到了晚上网络使用高峰期,丢包率会进一步上升。8% 以上的丢包率对于视频通话、在线游戏等实时应用几乎是不可用的,即便是网页浏览和文件传输也会感觉到明显的卡顿。
网络路由分析
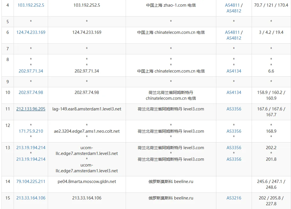
通过 ipip.net 工具追踪从中国上海到 MOW1 机房的网络路由路径。

路由显示数据包从中国上海出发后,先经过荷兰北荷兰省阿姆斯特丹的节点,然后才到达俄罗斯莫斯科。这种绕路的情况说明 MOW1 机房没有直连中国的优化线路,走的是普通的国际出口,需要经过欧洲中转。正是多个中转节点增加了延迟和丢包。
实际下载带宽测试
在国内使用 100Mbps 电信家庭宽带,通过 iperf3 工具测试从 MOW1 机房下载文件的实际速度。测试时 VPS 已开启 BBR 拥塞控制算法。

平均 15 Mbps 的下载速度,换算成下载速率约为 1.8 MB/s,这个速度只能说勉强够用。值得注意的是重传次数达到 1306 次,说明传输过程中数据包丢失严重,需要频繁重传,这和前面 8.13% 的丢包率测试结果相吻合。
MOW1 机房回国走的是普通国际出口绕道欧洲,导致延迟偏高、丢包率较大。虽然北京联通能达到 135 毫秒的相对较低延迟,但平均 8% 以上的丢包率可能会严重影响了实际使用体验。更适合面向俄罗斯、东欧市场,$3.51 的价格还是有性价比。
IP 质量与流媒体解锁
IP 质量检测
通过专业的 IP 质量检测脚本对 MOW1 机房的 IP 地址进行全面分析,测试涵盖 IP 类型、风险评分、黑名单状态等多个维度。

测试结果显示该 IP 为俄罗斯原生 IP,归属于 AS51659 LLC Baxet 自治系统,地理位置位于莫斯科。各大数据库均将其识别为机房 IP,这符合 VPS 服务器的实际情况。
IP2Location 和 AbuseIPDB 评定为低风险,但 IPQS 给出了 75 分的可疑评级。邮件服务连通性测试中,25 端口可用,但部分邮箱服务无法连通。IP 地址在 439 个黑名单数据库中有 67 个标记,2 个实际列入黑名单,风险还是比较较低。
流媒体解锁测试
使用流媒体解锁检测脚本进一步验证各项服务的可用性。

从流媒体解锁情况来看,MOW1 机房的 IP 在主流国际流媒体平台上几乎全军覆没,Netflix 和 Disney+ 都明确标注 IP 被封禁。这台 VPS 不适合用于观看流媒体或需要解锁特定地区服务的场景,主要适用于建站、开发测试等不依赖流媒体服务的用途。
测评总结
JustHost 俄罗斯莫斯科 MOW1 机房作为一款月付仅 $3.51 的入门级 VPS,只能说性能和价格匹配。
从硬件配置来看,Intel Xeon E5-2697 v4 单核处理器性能偏弱,适合运行轻量级应用;1GB 内存配合 20GB NVMe 存储空间满足基础建站需求,但磁盘 IO 性能受到明显限制,实测 4K 随机读写仅 800 多 IOPS,远未达到 NVMe 硬盘的理论水平。
莫斯科本地带宽测试可以跑满 300Mbps 标称速度,本地延迟低至 1.53 毫秒,零丢包表现优秀。但回国平均延迟 247 毫秒,丢包率高达 8.13%,且走的是绕道欧洲的普通国际线路。IP 质量为俄罗斯原生 IP,流媒体解锁能力较弱。
如果这个机房的网络特性符合使用需求,可以前往 JustHost 官网 选购套餐。购买前建议查看我们整理的 JustHost 优惠码。
JustHost 常规优惠码,仅月付可用,立享 20% 专属折扣
LET20
20%