莫斯科作为俄罗斯的首都和最大城市,拥有发达的互联网基础设施和优越的地理位置。MOW2 数据中心位于莫斯科核心网络节点,连接着俄罗斯本土及周边独联体国家的主要骨干网络。
对于需要覆盖俄语市场、开展东欧业务或寻求特定网络环境的用户来说,莫斯科机房具备明显的区位优势。JustHost 在莫斯科部署的 MOW2 机房提供了价格相对实惠的 VPS 方案,单独购买俄罗斯节点的月付价格仅需 $3.51,性价比值得关注。
本文将通过实际测试数据,全面展示这个机房的性能表现、网络质量以及适用场景。
测试套餐配置
本次测评使用的是 JustHost 基础款 VPS 套餐 Sirius,具体配置如下:
| 套餐 | CPU | 内存 | 磁盘 | 带宽 | 价格 |
|---|---|---|---|---|---|
| Sirius | 1核 | 1024 MB | 20 GB NVMe | 300 Mbit (fair-share) | $3.51/月(单买俄罗斯) $5.86/月(含其他机房) |
需要注意的是,JustHost 提供两种定价策略:如果只需要俄罗斯莫斯科节点,月付价格为 $3.51;若选择包含多个机房的套餐,则为 $5.86/月。测试机器操作系统为 Ubuntu Server 22.04 64bit。
想要购买该套餐的用户可以前往 JustHost 官网 查看详细信息,建议查阅我们整理的 JustHost 优惠码以获得优惠。
基础系统信息
在开始性能测试之前,先了解一下 JustHost 莫斯科 MOW2 机房提供的基础系统配置情况。
操作系统版本
服务器预装的是 Ubuntu 22.04.5 LTS 版本,这是目前较为稳定的长期支持版本,内核版本为 5.15.0-122-generic,发布时间为 2024 年 8 月。LTS 版本意味着可以获得至少五年的安全更新支持,对于生产环境来说比较可靠。
Ubuntu 22.04.5 LTS
Linux r1089906 5.15.0-122-generic #132-Ubuntu SMP Thu Aug 29 13:45:52 UTC 2024 x86_64 x86_64 x86_64 GNU/Linux
CPU 处理器
测试机分配的处理器为 Intel Xeon X5680,这是一款较老的服务器级 CPU,主频 3.33GHz。虽然架构相对陈旧,但 Xeon 系列本身定位于企业级应用,稳定性有保障。从配置来看,分配了 1 个核心、1 个线程,符合基础套餐的标准配置。
Model name: Intel(R) Xeon(R) CPU X5680 @ 3.33GHz
Socket(s): 1
Core(s) per socket: 1
Thread(s) per core: 1
这个 CPU 型号发布于 2010 年左右,采用 Westmere 架构。对于轻量级应用、小型网站或测试环境来说,性能基本够用,但不适合需要高计算性能的场景。
内存配置
实际可用内存为 957 MB,接近标称的 1024 MB(系统会占用部分资源)。需要特别注意的是,JustHost 默认不提供 Swap 交换分区,这意味着当物理内存不足时,系统无法使用硬盘空间作为临时缓冲。
total used free shared buff/cache available
Mem: 957Mi 168Mi 94Mi 1.0Mi 693Mi 629Mi
Swap: 0B 0B 0B
对于仅有 1GB 内存的小配置 VPS 来说,建议手动配置 1-2GB 的 Swap 空间,避免在运行内存密集型应用时出现 OOM(内存不足)导致进程被强制终止的情况。
磁盘存储
系统分配了 20GB 的 NVMe 固态硬盘,文件系统为 ext4 格式。从使用情况看,全新系统已使用 4.7GB 空间(主要是操作系统和预装软件),剩余可用空间约 15GB。
Filesystem Type Size Used Avail Use% Mounted on
/dev/sda1 ext4 20G 4.7G 15G 25% /
NVMe 协议相比传统 SATA 接口具有更高的读写速度和更低的延迟,这对于数据库应用和频繁读写操作的场景有明显优势。不过具体性能表现还需要通过后续的硬盘 I/O 测试来验证。
总体来看,基础系统配置符合 $3.51/月 价位的预期,适合轻量级应用部署。CPU 型号虽然较老,但对于不需要高性能计算的场景完全可以满足需求。内存和硬盘空间对于个人博客、小型网站或开发测试环境来说基本够用。
MOW2 机房性能实测
通过多项基准测试工具对莫斯科 MOW2 机房的 VPS 进行性能评估,以下是各项测试的详细结果和分析。
CPU 性能测试
使用 Sysbench 对 CPU 进行单线程压力测试,测试条件为计算 10000 以内的质数:
CPU speed:
events per second: 833.30
Latency (ms):
min: 0.99
avg: 1.20
max: 39.25
95th percentile: 1.55
虽然分配的是 Intel Xeon X5680 这款 2010 年左右的老架构处理器,但单核性能表现还算不错。每秒处理 833 个事件,平均延迟 1.20 毫秒,对于基础套餐来说属于合格水平。如果将测试难度提升到 20000,性能会降至每秒 354 个事件。
这个性能水平应对 Web 服务、轻量级数据库或代理服务等常见应用场景完全够用,但不适合需要密集计算的任务。
内存性能测试
内存读写速度测试显示带宽达到 3828.78 MiB/sec:
Total operations: 39222159 (3920669.55 per second)
38302.89 MiB transferred (3828.78 MiB/sec)
Latency (ms):
min: 0.00
avg: 0.00
max: 11.98
内存性能表现正常,每秒可执行近 400 万次操作,平均延迟接近 0。对于 1GB 内存容量的 VPS 来说,这个读写速度不错。
磁盘 I/O 性能测试
磁盘性能测试分为两部分:4K 随机读写和 1M 顺序读写。
4K 随机读写测试:
read: IOPS=1799, BW=7199KiB/s (7371kB/s)
clat (usec): avg=518.03
write: IOPS=1794, BW=7179KiB/s (7351kB/s)
clat (usec): avg=25.45
随机读取 IOPS 达到 1799,写入 IOPS 为 1794,读取延迟平均 518 微秒,写入延迟仅 25 微秒。这个成绩对于声称使用 NVMe 硬盘的 VPS 来说表现中规中矩。
真正的高性能 NVMe 硬盘在 4K 随机读写场景下 IOPS 通常能达到数万甚至数十万级别,从测试结果看,实际可能是共享存储或者经过虚拟化层的 NVMe,或者老旧机房只有 SSD。不过对于普通网站、小型数据库应用已经足够使用了。
顺序读写测试:
read: IOPS=72, BW=72.7MiB/s (76.2MB/s)
clat (usec): avg=7116.71, max=1378.1k
write: IOPS=77, BW=77.3MiB/s (81.1MB/s)
clat (usec): avg=6165.50, max=1161.8k
顺序读写速度分别为 72.7 MiB/s 和 77.3 MiB/s,但需要注意最大延迟峰值达到了 1.16 秒至 1.38 秒,这种延迟波动比较明显。从测试数据的不稳定性来看,很可能存在 I/O 资源超售。
网络带宽测试
在进行 Speedtest 官方测速时遇到了配置获取失败的问题:
[error] Configuration - Could not retrieve or read configuration (ConfigurationError)
这个问题比较奇怪,同样是 JustHost 的莫斯科机房,MOW1 节点可以正常使用 Speedtest,而 MOW2 节点却无法连接到测速服务器。可能是网络配置、防火墙规则或 Speedtest 服务端的区域限制导致。
改用 iperf3 测试到美国节点(1Gbps 带宽)的实际带宽:
下载速度: 96.5 Mbits/sec (重传: 25 次)
上传速度: 118 Mbits/sec (重传: 116 次)
下载速度约 96 Mbps,上传速度约 118 Mbps,基本达到标称的 300 Mbit fair-share 带宽的 30-40%,考虑到跨洲际距离和共享带宽模式,这个结果在预期范围内。不过上传测试中出现了 116 次重传,说明从莫斯科到美国的线路一般。
性能总结: CPU 性能够用,内存读写正常,硬盘 I/O 虽然标注 NVMe 但实际表现更像是 SSD。网络带宽基本达标,但跨国线路稳定性有待观察。整体来说,这个配置应对轻量级应用没有问题,但不适合对 I/O 性能和网络稳定性要求较高的场景。
回国网络表现测试
对于国内用户来说,VPS 访问国内网络的延迟和速度是非常重要的考量因素。以下是莫斯科 MOW2 机房针对中国大陆网络的各项测试结果。
回国延迟测试
通过 ping 百度域名测试到国内的基础延迟情况:
PING www.wshifen.com (103.235.46.102)
64 bytes from 103.235.46.102: icmp_seq=1 ttl=52 time=259 ms
64 bytes from 103.235.46.102: icmp_seq=2 ttl=52 time=259 ms
64 bytes from 103.235.46.102: icmp_seq=3 ttl=52 time=261 ms
64 bytes from 103.235.46.102: icmp_seq=4 ttl=52 time=261 ms
--- www.wshifen.com ping statistics ---
4 packets transmitted, 4 received, 0% packet loss, time 3005ms
平均延迟约 260 毫秒,丢包率 0%。这个延迟水平对于俄罗斯到中国的物理距离来说属于正常范围,但明显高于香港、日本等亚洲机房(通常 30-80ms)。260ms 的延迟意味着交互式应用(如 SSH 操作、实时通信)会有明显的卡顿感。
全国三网延迟分布
使用 itDog 工具测试全国各地不同运营商的延迟情况:

从数据来看,三大运营商的延迟差异不大,平均延迟都在 230-260ms 区间。北方地区(如北京、内蒙古)延迟相对较低,接近 160-190ms;而偏远地区(如西藏、新疆)和部分南方节点(如江苏南通移动)延迟较高,可达 300-390ms。
这种延迟分布符合地理距离和骨干网布局的规律,总体来说三网延迟表现比较平均,没有明显偏向某个运营商。
网络丢包率测试

全国节点综合丢包率为 2.85%。
这个丢包率处于可接受范围内,但不算特别优秀。对于普通网站访问、文件下载等应用影响不大,TCP 协议会自动重传丢失的数据包。但对于实时音视频通话、在线游戏等对丢包敏感的应用来说,2.85% 的丢包可能会导致卡顿或延迟增加。
相比之下,优质的 CN2 GIA 线路或 IPLC 专线通常能将丢包率控制在 0.5% 以下。
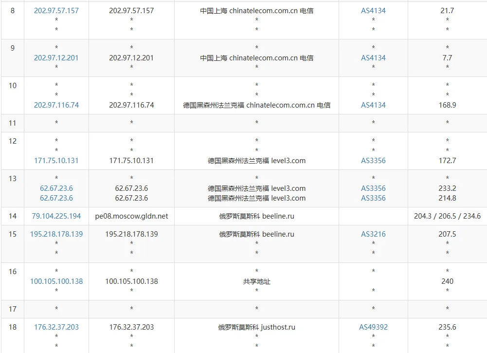
路由追踪分析

从中国上海到莫斯科 MOW2 机房的路由路径为:上海 → 德国法兰克福 → 俄罗斯莫斯科。
这条路由比较迂回,从中国出境后并未直连俄罗斯,而是先绕道德国的法兰克福节点,然后再转向莫斯科。这种路由策略可能是出于成本考虑或网络互联协议限制。绕道欧洲中转会增加约 50-100ms 的额外延迟,同时增加了跳数、提高了丢包率。
如果 JustHost 能够优化为中俄直连线路(或通过莫斯科直连中国的骨干网),延迟有望降低至 180-200ms 左右。
实际下载速度测试
使用国内家庭宽带(100Mbps 电信)通过 iperf3 测试从 MOW2 机房下载文件的实际速度:

- 晚高峰时段:平均速度约 23-25 Mbps
- 白天非高峰时段:速度可达 60+ Mbps
从逐秒数据可以看到速度波动比较明显,初始连接时仅 923 Kbits/sec,3-4 秒后才爬升到 44.6 Mbits/sec,随后稳定在 20-30 Mbps 区间。总传输数据 30.4 MB,重传次数高达 2355 次,这进一步印证了前面丢包率测试的结果。
晚高峰 20-25 Mbps 的下载速度对于普通网站加载、轻量级文件传输来说基本够用,但如果需要频繁传输大文件或视频流,体验会比较一般。白天 60+ Mbps 的速度表现不错,说明非高峰时段网络质量明显更好。
回国网络总结: 莫斯科 MOW2 机房访问中国大陆的延迟在 230-260ms 区间,三网表现均衡但整体延迟偏高,丢包率 2.85% 尚可接受。路由绕道德国导致延迟增加,实际下载速度受时段影响较大。但如果业务重心在俄罗斯本土或东欧地区就可以。
补充测试
IP 质量检测

总体来说,IP 质量属于中等水平,原生 IP 身份对于某些应用场景有优势,但部分风控系统可能会将其识别为机房 IP。邮件发送功能基本可用,适合搭建邮件服务器。
流媒体解锁测试

流媒体解锁能力较弱,主流平台如 Netflix、Disney+、YouTube Premium 均无法使用。这主要是因为俄罗斯 IP 受到较多国际服务的限制。如果购买 VPS 的目的是观看流媒体或使用国际 AI 服务,莫斯科机房并不适合。
测评总结
经过全方位的性能测试和网络评估,JustHost 莫斯科 MOW2 机房的整体表现可以总结如下:
- 采用的是 Intel Xeon X5680 单核性能较低、内存读写速度正常、硬盘性能表现像 SSD,如果需要莫斯科,建议 MOW1 机房
- 中国访问的延迟在 230-260ms,丢包率 2.85%,而且路由绕道德国法兰克福后才到达莫斯科。国内的下载速度在晚高峰时段约 20-25 Mbps,非高峰时段可达 60+ Mbps。
如果这个机房的特点符合使用需求,可以前往 JustHost 官网 了解更多套餐详情,如果对性能有要求,建议选择其他机房,性能更高回国也好,例如 JustHost 荷兰阿姆斯特丹机房。购买不要忘记 JustHost 优惠码,能够获得更优惠的价格。
JustHost 常规优惠码,仅月付可用,立享 20% 专属折扣
LET20
20%常见问题解答
Q1: JustHost 莫斯科 MOW2 机房适合搭建面向国内用户的网站吗?
+Q2: 单买俄罗斯节点和组合套餐有什么区别?
+Q3: JustHost 莫斯科 MOW2 机房为什么 NVMe 硬盘的性能测试结果不如预期?
+Q4: JustHost 莫斯科 MOW2 机房可以解锁哪些流媒体服务?
+Q5: JustHost 默认没有 Swap 分区,需要手动配置吗?
+Q6: 为什么 MOW2 机房 Speedtest 测速失败,但 iperf3 可以正常测试?
+测试中遇到 Speedtest 配置文件获取失败的问题,可能是网络配置、防火墙规则或 Speedtest 服务端的区域限制导致。有趣的是,同样是 JustHost 莫斯科机房,MOW1 节点可以正常使用 Speedtest,而 MOW2 节点却无法连接。
这种情况下可以使用 iperf3、fast.com 或其他测速工具作为替代方案。