巴勒莫位于意大利西西里岛北部,是地中海地区的重要枢纽城市,对于需要覆盖南欧、北非以及中东部分地区的业务相当理想。
JustHost 选择在巴勒莫部署数据中心,主要看中的就是这里连接欧洲大陆、地中海沿岸的网络优势。相比米兰、罗马这些常见的意大利机房位置,巴勒莫的特殊地理位置能为特定用户群体提供更短的物理距离和更低的延迟。
本次测评针对 JustHost 巴勒莫机房的基础款 VPS 进行了全方位测试,从国内访问延迟、带宽速度、硬盘性能到系统稳定性都有涉及。测试时间跨度为一周,确保数据的真实性和参考价值。
测试套餐配置
本次测评使用的是 JustHost Sirius 系列的基础配置,具体参数如下:
| 套餐 | CPU | 内存 | 磁盘 | 带宽 | 价格 |
|---|---|---|---|---|---|
| Sirius 基础款 | 1 核心 | 1024 MB | 20 GB NVMe | 300 Mbit (fair-share) | $5.86/月 |
这个配置属于入门级别,适合搭建个人博客、轻量级应用或测试环境使用。需要注意的是带宽标注为 fair-share 模式,意味着多个用户共享物理带宽资源,实际可用带宽会根据服务器整体负载动态分配。
想要购买的话可以直接访问 JustHost 官网 选择巴勒莫机房节点,记得查看我们整理的 JustHost 优惠码页面,能省下一笔费用。操作系统方面本次测试选用了 Ubuntu Server 22.04 64bit,这也是目前比较主流的 Linux 发行版选择。
基础系统信息
在正式进行性能测试之前,先通过系统命令查看这台 VPS 的基本配置信息,确认实际分配的资源是否与官方描述一致。
操作系统版本
root@r1089906:~# lsb_release -ds
Ubuntu 22.04.5 LTS
root@r1089906:~# uname -a
Linux r1089906 5.15.0-122-generic #132-Ubuntu SMP Thu Aug 29 13:45:52 UTC 2024 x86_64 x86_64 x86_64 GNU/Linux
系统使用的是 Ubuntu 22.04.5 LTS 长期支持版本,内核版本为 5.15.0-122,发布时间是 2024 年 8 月。这个内核版本比较新,对硬件的支持和安全性都有保障。主机名显示为 r1089906,这是 JustHost 自动分配的标识符。
处理器配置
root@r1089906:~# lscpu | egrep 'Model name|Socket|Core|Thread|MHz'
Model name: Intel(R) Xeon(R) Gold 6148 CPU @ 2.40GHz
Thread(s) per core: 1
Core(s) per socket: 1
Socket(s): 1
CPU 采用的是 Intel Xeon Gold 6148 处理器,基础频率 2.40GHz。这是英特尔 Skylake 架构的服务器级芯片,属于至强可扩展处理器系列。虽然分配的只有 1 个核心,但至强处理器的单核性能还是比较可靠的,应对日常建站和轻量应用没什么压力。
内存状况
root@r1089906:~# free -h
total used free shared buff/cache available
Mem: 957Mi 185Mi 84Mi 1.0Mi 687Mi 612Mi
Swap: 0B 0B 0B
实际可用内存为 957MB,接近官方标注的 1024MB,这点差异是正常的,系统会占用一部分内存资源。当前已使用 185MB,剩余可用 612MB,buffer/cache 占用 687MB。
需要特别注意的是 JustHost 默认没有配置 Swap 交换分区。对于只有 1GB 内存的小配置来说,建议手动创建一个 Swap 分区,避免内存不足时系统直接卡死。一般设置 1-2GB 的 Swap 就够用了,可以在内存吃紧时起到缓冲作用。
硬盘空间
root@r1089906:~# df -hT /
Filesystem Type Size Used Avail Use% Mounted on
/dev/sda1 ext4 20G 4.6G 15G 25% /
磁盘总容量 20GB,文件系统格式为 ext4,目前已使用 4.6GB(主要是系统本身占用),剩余可用空间 15GB。虽然宣传的是 NVMe 固态硬盘,但从设备名称 /dev/sda1 来看可能是虚拟化层的映射,这在 VPS 环境中很常见。
性能实测数据
通过 sysbench、fio 和 speedtest 等工具对这台 VPS 进行了全面的性能测试,下面是各项指标的详细表现。
CPU 性能测试
使用 sysbench 进行单核心 CPU 运算测试:
root@r1089906:~# sysbench cpu --threads=1 run
CPU speed:
events per second: 938.66
Latency (ms):
min: 0.94
avg: 1.06
max: 8.27
95th percentile: 1.30
单核心每秒完成 938.66 个事件,这个成绩对于至强 Gold 6148 处理器来说属于正常水平。平均延迟 1.06 毫秒,95% 的请求在 1.30 毫秒内完成,响应速度比较稳定。即使提升到质数上限 20000 的测试强度,依然能保持每秒 352.52 个事件的处理能力。
内存性能测试
root@r1089906:~# sysbench memory run
Total operations: 34196659 (3418587.28 per second)
33395.17 MiB transferred (3338.46 MiB/sec)
Latency (ms):
min: 0.00
avg: 0.00
max: 4.69
内存写入速度达到 3338.46 MB/s,每秒完成超过 341 万次操作。这个数据表明内存带宽充足,延迟极低,对于需要频繁内存读写的应用来说完全够用。最大延迟也只有 4.69 毫秒,没有出现明显的性能波动。
磁盘 IO 性能
4K 随机读写测试
root@r1089906:~# fio --name=randrw --rw=randrw --bs=4k --size=512M
read: IOPS=6289, BW=24.6MiB/s (25.8MB/s)
clat (usec): min=28, max=65380, avg=131.93
write: IOPS=6279, BW=24.5MiB/s (25.7MB/s)
clat (usec): min=2, max=17774, avg=17.40
4K 随机读取 IOPS 达到 6289,带宽 24.6 MB/s;随机写入 IOPS 为 6279,带宽 24.5 MB/s。读取平均延迟 131.93 微秒,写入延迟仅 17.40 微秒。这个表现确实接近 NVMe 固态硬盘的水平,尤其是写入延迟控制得相当出色。
对于数据库、缓存等对随机 IO 要求较高的应用场景,这个性能完全能满足需求。
顺序读写测试
root@r1089906:~# fio --name=seqrw --rw=readwrite --bs=1M --size=1G
read: IOPS=753, BW=754MiB/s (790MB/s)
clat (usec): avg=400.33
write: IOPS=802, BW=802MiB/s (841MB/s)
clat (usec): avg=814.79
顺序读取速度 754 MB/s,写入速度 802 MB/s,读写延迟分别为 400 微秒和 814 微秒。虽然设备名称显示为 /dev/sda,但这个性能数据确实达到了 NVMe 固态硬盘的入门水准,可以确认 JustHost 在巴勒莫机房使用的是真实的 NVMe 存储。
网络带宽测试
root@r1089906:~# speedtest --accept-license --accept-gdpr
Server: Melbicom - Palermo (id: 37378)
Idle Latency: 0.38 ms (jitter: 0.05ms)
Download: 393.18 Mbps (data used: 706.5 MB)
Upload: 385.99 Mbps (data used: 351.3 MB)
Packet Loss: 0.0%
使用 Speedtest 测试本地巴勒莫节点,下载速度 393.18 Mbps,上传速度 385.99 Mbps,空闲延迟仅 0.38 毫秒。虽然官方标注的是 300 Mbit fair-share 带宽,但实际测试超过了这个数值,而且上下行速度基本对称。
需要说明的是,这个测速结果是连接意大利本地服务器测得的,代表的是服务器到当地网络的极限速度。对于中国大陆用户来说,实际可用带宽会受到国际线路的限制,后面会专门测试国内访问的真实速度。
中国大陆网络访问表现
对于需要从国内访问意大利服务器的用户来说,跨国线路的网络质量才是最关键的考量因素。下面通过多个维度测试巴勒莫机房到中国大陆的实际网络表现。
回国延迟测试
从服务器直接 ping 百度进行基础延迟测试:
root@r1089906:~# ping -c 4 www.baidu.com
PING www.wshifen.com (103.235.46.102) 56(84) bytes of data.
64 bytes from 103.235.46.102: icmp_seq=1 ttl=55 time=280 ms
64 bytes from 103.235.46.102: icmp_seq=2 ttl=55 time=280 ms
64 bytes from 103.235.46.102: icmp_seq=3 ttl=55 time=280 ms
64 bytes from 103.235.46.102: icmp_seq=4 ttl=55 time=280 ms
--- www.wshifen.com ping statistics ---
4 packets transmitted, 4 received, 0% packet loss, time 3004ms
rtt min/avg/max/mdev = 279.712/279.916/280.452/0.310 ms
ping 百度的平均延迟稳定在 280 毫秒左右,抖动极小(标准差仅 0.310ms),四次测试的数值几乎一致。这个延迟水平符合欧洲到中国的正常物理距离预期,没有出现丢包现象。对于网页浏览等不需要实时交互的应用来说,这个延迟完全可以接受。
全国多节点延迟分布
使用 itDog 工具从国内多个省市节点测试访问延迟:

从地域分布来看,华北和华东地区延迟相对较低,西部地区如新疆延迟偏高。联通线路表现最优,天津联通节点只有 153ms 的延迟相当亮眼。电信和移动的表现中规中矩,差异不算太大。
网络丢包率测试

测试显示整体丢包率为 6.07%,这个数据不太理想。虽然大部分节点的丢包率在可接受范围内,但个别节点出现了较高的丢包率,这可能会影响稳定性要求较高的应用。对于视频会议、游戏加速等实时应用来说,这个丢包率偏高了。
值得注意的是网络质量存在一定的时段波动,高峰期可能会比测试时更差。建议有稳定性需求的用户多观察几天再做决定。
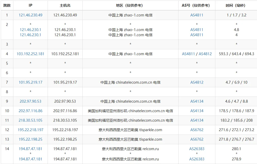
路由追踪分析

从中国上海出发的路由轨迹显示:出境后先经过美国加利福尼亚州洛杉矶,然后才到达意大利西西里大区巴勒莫。这条路由并不是最优的,理论上直接走欧洲方向的海底光缆会更快。绕道美国增加了不必要的物理距离,导致延迟会比预期稍高一些。
这种路由策略可能是运营商的策略选择,不同时间段、不同运营商的路由可能会有变化。
国内下载带宽实测
使用家庭 100Mbps 电信宽带从国内连接服务器进行 iperf3 测试:

从服务器下载文件到国内,前几秒速度在爬升(TCP 慢启动),稳定后维持在 73-79 Mbps 之间,平均速度 60.3 Mbps,没有出现重传(Retr=0)。考虑到测试使用的是 100M 家庭宽带,而且是跨国连接,能跑到 60+ Mbps 已经算不错的表现了。
需要注意的是,这个测试是在非高峰时段进行的。晚上 8-11 点国际带宽拥堵时,速度可能会有明显下降。
补充测试项目
除了基础性能和网络延迟,还对 IP 质量、流媒体解锁等方面进行了测试,这些指标对于特定用途的用户同样重要。
IP 质量检测

IP 地址归属于 AS26383 (ASNET),注册地为捷克,实际使用地在意大利巴勒莫。所有数据库都将其识别为机房 IP,没什么问题。风险评分方面表现不错,大部分都是低风险,Scamalytics 和 ipapi 显示中高风险。
IP 黑名单检测结果理想:在 439 个有效数据库中,389 个显示正常,50 个有标记但未列入黑名单,0 个真正的黑名单记录。邮件发送方面,25 端口可用,能正常连接大部分主流邮局,只有少数服务商连接失败。
流媒体解锁情况

AI 服务方面,ChatGPT、Google Gemini 和 Claude 全部可以正常使用,对于需要调用这些 API 的开发者来说是个好消息。维基百科有编辑权限,Google 搜索无需验证码,Reddit 可以正常访问。
游戏平台方面,Steam 显示欧元区,Google Play 商店识别为美国区。YouTube CDN 使用的是米兰节点而不是巴勒莫本地。
总结与购买建议
JustHost 意大利巴勒莫机房的整体表现符合其地理位置和价格定位的预期。
从硬件配置来看,至强 Gold 6148 处理器、真实的 NVMe 固态硬盘、充足的内存带宽都证明了商家在基础设施上没有偷工减料。本地网络质量优秀,到欧洲其他地区的延迟很低,适合需要覆盖南欧、地中海沿岸市场的业务。
对于中国大陆用户来说,260 毫秒左右的平均延迟虽然不算快,但也在可接受范围内。联通线路表现最优,电信和移动次之。6% 的丢包率稍显遗憾,建议对网络稳定性要求极高的用户慎重考虑。从国内下载速度能达到 60+ Mbps,日常使用基本够用。
如果确定要购买,可以访问 JustHost 官网 选择意大利巴勒莫节点。购买前别忘了使用 JustHost 优惠码,可以享受一定折扣。
JustHost 常规优惠码,仅月付可用,立享 20% 专属折扣
LET20
20%