维也纳作为奥地利首都,地处欧洲心脏地带,是连接西欧、中欧与东欧的重要枢纽。这座城市不仅拥有成熟的基础设施和稳定的电力供应,更重要的是其网络互联条件优越,到德国法兰克福、荷兰阿姆斯特丹等欧洲主要互联网交换中心的物理距离都很短。
JustHost 选择在维也纳部署数据中心,正是看中了这里得天独厚的地理位置和网络环境。对于需要服务欧洲用户或者寻找稳定欧洲节点的用户来说,维也纳机房值得关注。本文将通过一系列实际测试,展示这个机房的真实表现。
测试配置说明
本次测试使用的是 JustHost 的 Sirius 基础套餐,具体配置如下:
| 套餐 | CPU | 内存 | 磁盘 | 带宽 | 价格 |
|---|---|---|---|---|---|
| Sirius | 1 Core | 1024 MB | 20 GB NVMe | 300 Mbit | $5.86/月 |
操作系统选择了 Ubuntu Server 22.04 64bit,这是目前比较主流的 Linux 发行版,兼容性和稳定性都不错。想要购买 JustHost VPS 的话,可以前往 JustHost 官网 查看完整套餐列表。购买前别忘了查看我们整理的 JustHost 优惠码,能省下一笔费用。
基础系统信息
先来看看这台维也纳机房 VPS 的基本配置情况。
系统版本
服务器运行的是 Ubuntu 22.04.5 LTS 版本,内核为 5.15.0-122,发布时间是 2024 年 8 月。LTS 版本意味着长期支持,至少能获得 5 年的安全更新,对于生产环境来说比较稳妥。
Ubuntu 22.04.5 LTS
Linux r1089906 5.15.0-122-generic #132-Ubuntu SMP Thu Aug 29 13:45:52 UTC 2024 x86_64
CPU 配置
处理器采用的是 AMD EPYC 9654,这是 AMD 第四代霄龙系列的旗舰型号,96 核心设计。虽然 VPS 只分配了 1 个核心,但底层硬件性能还是相当强劲的。单线程单核心的配置对于基础套餐来说很常见,应付小型网站或者轻量级应用没什么问题。
Model name: AMD EPYC 9654 96-Core Processor
Thread(s) per core: 1
Core(s) per socket: 1
Socket(s): 1
内存状况
实际可用内存为 956 MB,比标称的 1024 MB 略少一点,这是因为系统内核和一些基础进程会占用部分内存。当前已使用 194 MB,空闲 176 MB,剩余可用内存 608 MB。
需要注意的是,JustHost 默认没配置 Swap 交换空间。对于 1GB 这种小内存配置来说,建议手动创建 1-2GB 的 Swap 分区,避免内存不足时进程被强制终止。点击查看 Swap 常见教程。
total used free shared buff/cache available
Mem: 956Mi 194Mi 176Mi 1.0Mi 585Mi 608Mi
Swap: 0B 0B 0B
存储空间
硬盘使用的是 NVMe SSD,总容量 20GB,已使用 4.7GB,剩余 15GB 可用。文件系统采用 ext4 格式,这是 Linux 下最成熟稳定的文件系统之一。对于纯粹跑网站或者轻量应用来说,20GB 空间基本够用,但如果要存储大量数据就得考虑外挂存储了。
Filesystem Type Size Used Avail Use% Mounted on
/dev/sda1 ext4 20G 4.7G 15G 26% /
从基础配置来看,这台维也纳 VPS 的硬件底子不错,AMD EPYC 9654 处理器和 NVMe 固态硬盘都属于当前主流水准。系统刚安装完使用率 26%,留出了足够的操作空间。
维也纳机房性能实测
接下来通过一系列基准测试来检验这台维也纳 VPS 的实际性能表现。
CPU 性能测试
使用 sysbench 进行单核心 CPU 压力测试,结果如下:
CPU speed:
events per second: 2824.52
Latency (ms):
min: 0.33
avg: 0.35
max: 11.16
95th percentile: 0.37
单核心每秒处理事件数达到 2824.52,平均延迟 0.35 毫秒,95% 的请求延迟都在 0.37 毫秒以内。这个成绩对于 AMD EPYC 9654 处理器来说属于正常发挥水平,单核性能相当不错。日常跑网站、运行脚本或者编译小型项目都不会有压力。
内存性能测试
内存读写速度测试显示:
Total operations: 44044471 (4404075.77 per second)
43012.18 MiB transferred (4300.86 MiB/sec)
Latency (ms):
avg: 0.00
95th percentile: 0.00
内存写入速度达到 4.3 GB/s,这个速度相当快了,说明服务器使用的是高频 DDR5 内存。对于 VPS 来说,内存性能通常不会成为瓶颈,这个测试结果也验证了这一点。
磁盘 IO 性能测试
4K 随机读写测试是考验 SSD 真实性能的关键指标:
read: IOPS=8845, BW=34.6MiB/s
clat (usec): avg=97.42
write: IOPS=8835, BW=34.5MiB/s
clat (usec): avg=6.29
4K 随机读取 IOPS 达到 8845,写入 IOPS 为 8835,读写速度均在 34-35 MB/s 左右。写入延迟平均只有 6.29 微秒,读取延迟 97.42 微秒。这个表现证实了确实是真实的 NVMe SSD,而不是某些商家宣传的"假 NVMe"。
顺序读写测试结果更加亮眼:
read: IOPS=757, BW=757MiB/s
write: IOPS=806, BW=806MiB/s
顺序读取速度 757 MB/s,写入速度 806 MB/s,这个速度已经接近 NVMe SSD 的理论上限。对于基础套餐来说,这样的磁盘性能完全超出预期,跑数据库、处理日志文件都会非常流畅。
需要说明的是,VPS 环境下的磁盘性能会受到邻居影响,但在我测试期间没有出现明显的性能波动。
带宽速度测试
通过 Speedtest 测试本地维也纳节点的网络速度:
Server: Nessus GmbH (10G Uplink) - Vienna
Idle Latency: 0.60 ms
Download: 401.25 Mbps
Upload: 413.79 Mbps
到维也纳本地测速节点的延迟只有 0.6 毫秒,下载速度 401 Mbps,上传速度 414 Mbps。实际带宽远超标称的 300 Mbps,这说明 JustHost 采用的是"fair-share"共享带宽模式,在流量不拥堵的时候可以跑满机房的上行带宽。
当然这个速度只能代表本地测速的最优情况,实际使用中的带宽会受到目标服务器位置、时段流量等因素影响。
回国网络表现
对于国内用户来说,VPS 的回国网络质量往往比本地性能更重要。下面从多个维度测试维也纳机房到中国的网络连接情况。
基础延迟测试
先用最简单的 ping 命令测试到百度的延迟:
PING www.wshifen.com (103.235.46.115) 56(84) bytes of data.
64 bytes from 103.235.46.115: icmp_seq=1 ttl=52 time=196 ms
64 bytes from 103.235.46.115: icmp_seq=2 ttl=52 time=196 ms
64 bytes from 103.235.46.115: icmp_seq=3 ttl=52 time=196 ms
64 bytes from 103.235.46.115: icmp_seq=4 ttl=52 time=196 ms
--- ping statistics ---
4 packets transmitted, 4 received, 0% packet loss
rtt min/avg/max/mdev = 195.565/195.611/195.645/0.032 ms
平均延迟 196 毫秒,四次测试结果几乎完全一致,波动只有 0.032 毫秒,说明网络相当稳定。考虑到维也纳到中国的物理距离超过 8000 公里,这个延迟属于正常水平。对比来看,美国西海岸到国内延迟通常在 150-180 毫秒,欧洲中部会稍高一些。
全国多节点延迟分布
通过 itDog 工具测试到国内各地的延迟情况:

从测试结果来看:
- 电信线路表现最好,北京电信 147ms,湖南长沙 235ms,平均延迟 194ms
- 联通线路居中,山东济南 229ms,西藏拉萨 337ms,平均延迟 282ms
- 移动线路最慢,浙江金华 258ms,青海西宁 423ms,平均延迟 354ms
- 全网平均延迟 273ms
可以看出三大运营商之间的差异还是比较明显的。电信用户访问这台服务器的体验会好不少,北京节点甚至能做到 147ms 的低延迟。移动用户就比较吃亏了,西部地区的延迟能到 400 多毫秒,这个延迟玩游戏基本不可能,挂个网站勉强能用。
丢包率测试
网络稳定性方面,itDog 的丢包率测试结果:

全国平均丢包率 3.14%,这个数据不算太理想。一般来说,丢包率低于 1% 才算优质线路,3% 左右属于能用但不够完美的状态。在实际使用中,偶尔可能会遇到连接卡顿或者请求超时的情况,特别是在网络高峰期。
不过需要说明的是,欧洲到中国的国际线路普遍存在一定丢包,这是由物理距离和中间节点数量决定的。
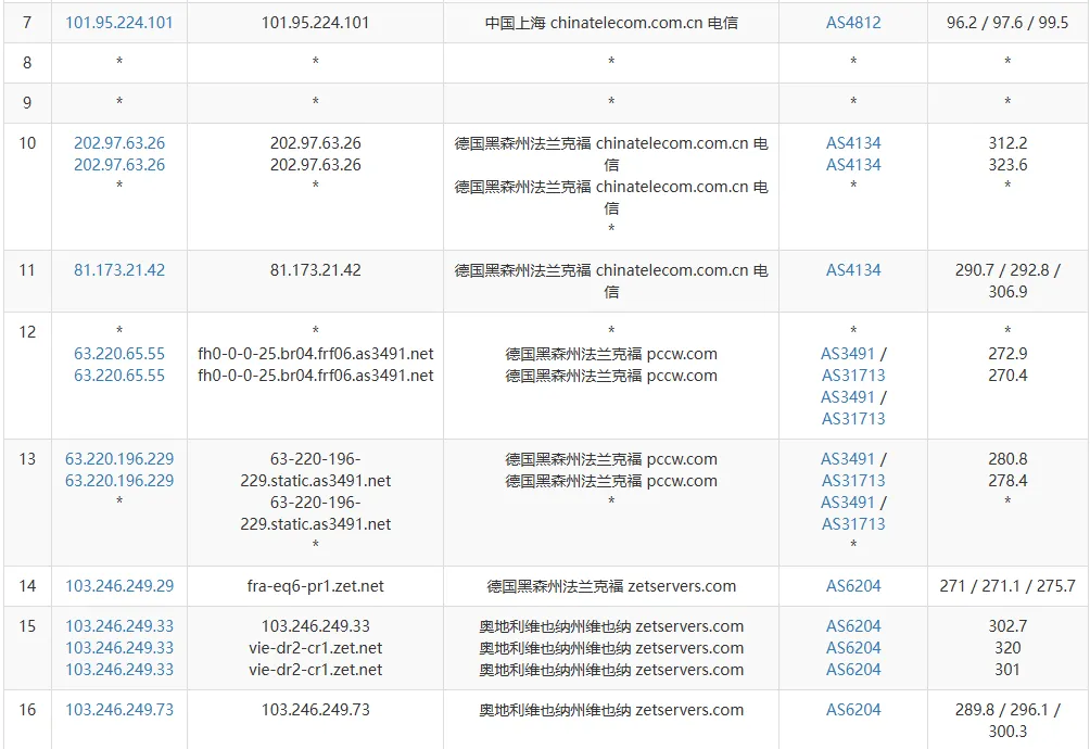
路由路径分析
查看从中国到维也纳的网络路径:

数据包从上海出发,中途经过德国法兰克福,最终到达奥地利维也纳。这是比较典型的欧洲线路走向——国内出口→德国法兰克福(欧洲最大互联网交换中心)→目标城市。
法兰克福是 DE-CIX(德国商业互联网交换中心)所在地,全球流量吞吐量排名前三,基本所有到欧洲的流量都会经过这里。
实际下载速度测试
理论延迟是一回事,实际带宽表现又是另一回事。用 iperf3 从国内测试 VPS 的下载速度:

国内家庭 100Mbps 电信宽带,VPS 端开启了 BBR 拥塞控制算法。10 秒传输了 13.8 MB 数据,平均下载速度 11.6 Mbps(约 1.45 MB/s)。这个速度远低于 VPS 端 300Mbps 的带宽上限,瓶颈在国际出口和跨境线路质量上。
另外需要注意的是重传次数(Retr)高达 1869 次,这印证了前面丢包率测试的结果——跨境传输确实存在不少丢包,导致 TCP 协议需要频繁重传数据包。好在开启了 BBR 算法,一定程度上缓解了高延迟、高丢包环境下的速度问题。
从测试过程可以看到波动比较大,从几百 Kbps 到 20 多 Mbps。但这是国际线路的常见现象,晚高峰更明显。
回国网络小结
维也纳机房到中国的网络表现可以概括为:
- 延迟:电信 194ms,联通 282ms,移动 354ms,属于欧洲机房的正常水平
- 稳定性:延迟波动小,但丢包率 3.14% 略高
- 带宽:实测回国速度 11.6 Mbps,受国际出口限制较大
- 线路:走法兰克福转接,未经过专门的中国优化线路
总的来说,如果主要面向国内用户提供服务,这台 VPS 只能算勉强够用。适合对延迟要求不高的场景,比如挂个博客、做文件中转、搭建轻量应用等。如果需要更好的回国体验,建议考虑带 CN2 优化或者亚洲机房。
但换个角度看,如果目标用户主要在欧洲,或者只是需要一个欧洲节点做跳板,那么这台服务器的性价比就相当不错了。
补充测试
IP 质量检测

IP 归属显示为奥地利,但注册地在德国,这是因为服务商的 AS 号注册在德国。从检测结果看:
- IP 类型:被各大数据库正确识别为机房 IP
- 风险评分:所有平台都显示低风险或极低风险,IP 质量干净
- 黑名单检测:439 个数据库中 0 个黑名单记录,396 个显示正常
- 邮件端口:25 端口开放,大部分主流邮局可以正常收发(Gmail、Outlook、Yahoo 等通畅)
这个 IP 质量相当不错,没有被标记为代理或 VPN,也没有滥用记录。
流媒体解锁情况

Netflix 和 Disney+ 都能解锁原生内容,说明这个 IP 段没有被流媒体平台封禁。对于需要观看欧洲地区内容或者搭建相关服务的用户来说是个好消息。YouTube 和部分服务识别为美国区可能是因为走了某些国际 CDN 节点。
唯一的遗憾是 Spotify 注册受限,不过这对大部分用户影响不大。整体来说,这台 VPS 的流媒体解锁能力还不错。
总结
JustHost 作为一家专注欧洲市场的主机服务商,在维也纳设立的数据中心展现出了不错的综合实力。从本次测试来看,硬件配置 AMD EPYC 9654 处理器、真 NVMe SSD、高速 DDR5 内存,这些都不是纸面参数,而是经过实测验证的真实性能。
如果目标客户在国内,需要有合理的预期。电信用户平均延迟 194ms,联通 282ms,移动 354ms,实际回国带宽在 10-15 Mbps 左右。这个表现只能说中规中矩,适合对延迟不敏感的轻量应用,比如个人博客、文件存储、学习测试等场景。
如果对维也纳机房感兴趣,可以前往 JustHost 官网 查看最新套餐和促销信息,购买前记得使用优惠码节省开支。
JustHost 常规优惠码,仅月付可用,立享 20% 专属折扣
LET20
20%常见问题解答
Q1:JustHost 维也纳机房适合什么样的用户?
+主要适合三类用户:一是需要服务欧洲用户的外贸、跨境电商从业者;二是需要欧洲节点做跳板或中转的技术人员;三是对价格敏感、想体验欧洲机房的个人用户。
如果主要面向国内用户提供服务,建议优先考虑亚洲机房(例如 野草云 的香港 VPS)。